Информационная система
«Ёшкин Кот»

Государственные стандартыДекларация о соответствии Единый перечень продукции ТС Классификатор государственных стандартов Общероссийский классификатор стандартов Обязательная сертификация Окп Тематические сборники Технические регламенты РФ Технические регламенты Таможенного союзаСтроительная документацияТехническая документация

Найти:
Где:
Отображать:
Упорядочить:

Скачать ГОСТ 23838-2024 Здания предприятий. Параметры

Дата актуализации: 01.06.2025

ГОСТ 23838-2024

Здания предприятий. Параметры

Обозначение: ГОСТ 23838-2024
Статус:принят
Название рус.:Здания предприятий. Параметры
Название англ.:Buildings of enterprises. Parameters
Дата актуализации текста:01.06.2025
Дата актуализации описания:01.06.2025
Дата регистрации:27.12.2024
Дата издания:28.01.2025
Дата введения:01.06.2025
Взамен:ГОСТ 23838-89
Нормативные ссылки:ГОСТ 28984
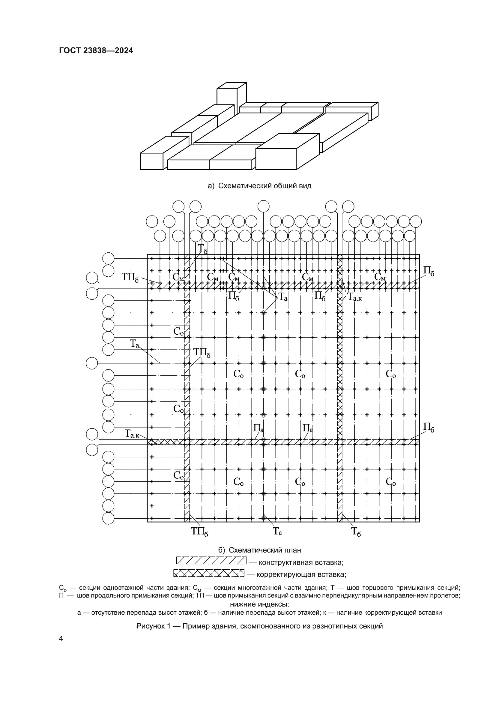
Область применения:Настоящий стандарт распространяется на производственные, административные, бытовые и складские здания (далее – здания) предприятий всех отраслей промышленности. Стандарт устанавливает: - основные координационные размеры (геометрические параметры) –пролеты, шаги и высоты этажей, а также их сочетания в первичных объемно-планировочных элементах (ячейках) надземной части зданий с прямоугольной системой модульных координат; - правила формирования секций из первичных объемно-планировочных элементов зданий и компоновки на их основе зданий различной этажности (одноэтажных, многоэтажных и смешанной этажности). Стандарт не распространяется на здания, предназначенные для строительства на подрабатываемых территориях, в районах с многолетнемерзлыми и просадочными грунтами, в районах с сейсмичностью 7 баллов и более
Расположен в:Государственные стандарты Общероссийский классификатор стандартов Строительные материалы и строительство Строительное оборудование
ГОСТ 23838-2024ГОСТ 23838-2024ГОСТ 23838-2024ГОСТ 23838-2024ГОСТ 23838-2024ГОСТ 23838-2024ГОСТ 23838-2024ГОСТ 23838-2024ГОСТ 23838-2024ГОСТ 23838-2024ГОСТ 23838-2024ГОСТ 23838-2024

© 2013 Ёшкин Кот :-) Карта сайта