| Обозначение: |  ГОСТ ISO 23551-5-2023 |
| Статус: | действует |
| Название рус.: | Устройства защиты и управления газовых горелок и аппаратов. Частные требования. Часть 5. Газовые клапаны с ручным управлением |
| Название англ.: | Safety and control devices for gas burners and gas-burning appliances. Particular requirements. Part 5. Manual gas valves |
| Дата актуализации текста: | 01.06.2025 |
| Дата актуализации описания: | 01.06.2025 |
| Дата регистрации: | 25.09.2023 |
| Дата издания: | 27.01.2025 |
| Дата введения: | 01.04.2025 |
| Аутентичен стандартам: | ISO 23551-5:2014 |
| Нормативные ссылки: | ISO 23550 |
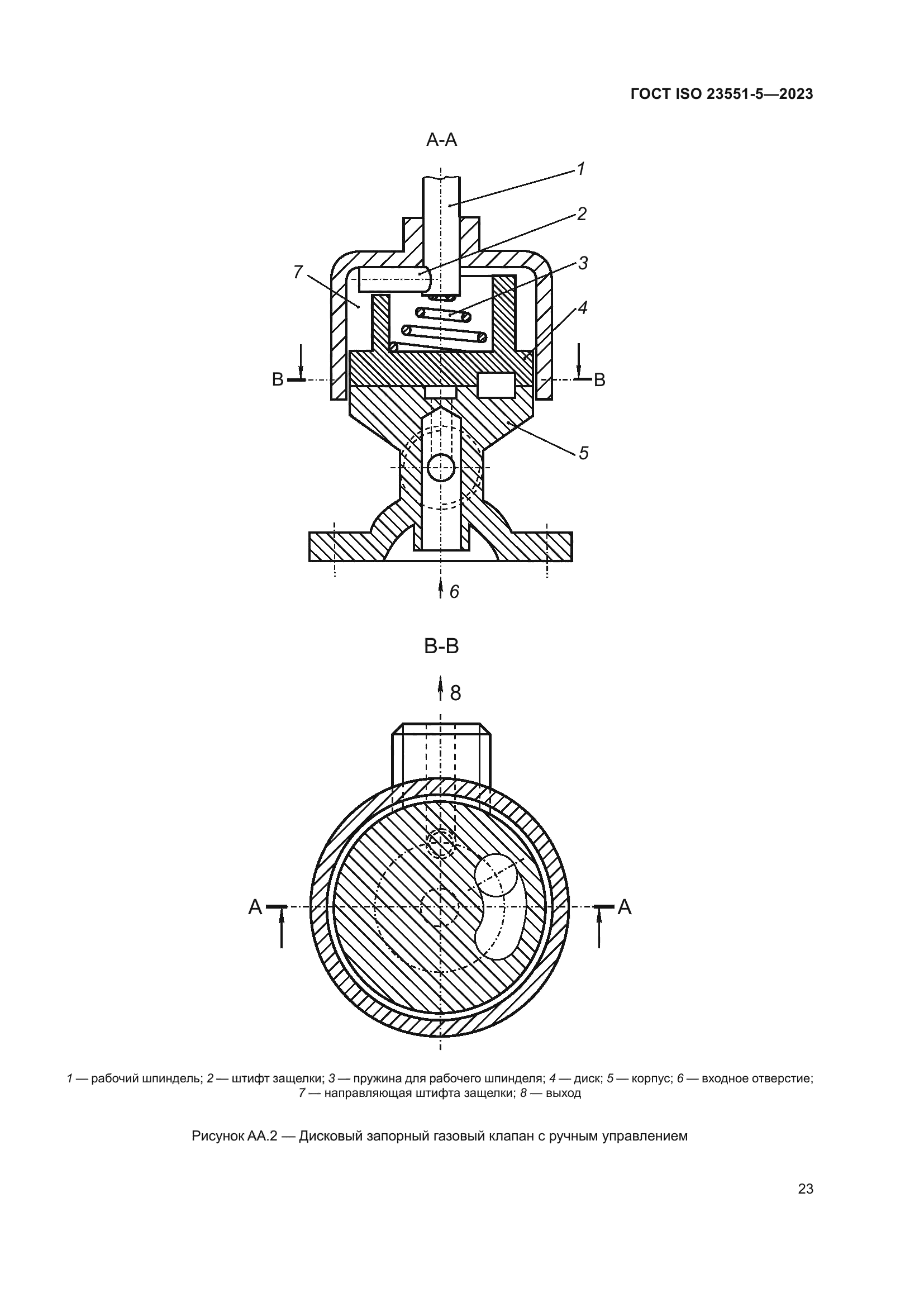
| Область применения: | Настоящий стандарт устанавливает требования, предъявляемые к безопасности, конструкции и эксплуатационным характеристикам газовых клапанов с ручным управлением, предназначенных для применения с газовыми горелками и аппаратами (далее – клапаны). Настоящий стандарт распространяется на следующие типы газовых клапанов с ручным управлением: - запорный газовый клапан с ручным управлением; - клапан газовой горелки; - соединительный клапан аппарата; - клапан «delta С» |
|
| Расположен в: |
|