Информационная система
«Ёшкин Кот»

Государственные стандартыДекларация о соответствии Единый перечень продукции ТС Классификатор государственных стандартов Общероссийский классификатор стандартов Обязательная сертификация Окп Тематические сборники Технические регламенты РФ Технические регламенты Таможенного союзаСтроительная документацияТехническая документация

Найти:
Где:
Отображать:
Упорядочить:

Скачать ГОСТ 31447-2012 Трубы стальные сварные для магистральных газопроводов, нефтепроводов и нефтепродуктопроводов. Технические условия

Дата актуализации: 01.06.2025

ГОСТ 31447-2012

Трубы стальные сварные для магистральных газопроводов, нефтепроводов и нефтепродуктопроводов. Технические условия

Обозначение: ГОСТ 31447-2012
Статус:действует
Название рус.:Трубы стальные сварные для магистральных газопроводов, нефтепроводов и нефтепродуктопроводов. Технические условия
Название англ.:Steel weldes pipes for trunk gas pipelines, oil pipelines and oil products pipelines. Specifications
Дата актуализации текста:01.01.2021
Дата актуализации описания:01.06.2025
Дата регистрации:15.03.2012
Дата издания:17.12.2013
Дата введения:01.01.2015
Код ОКП:130000
Нормативные ссылки:ГОСТ ИСО 10124-2002;ГОСТ ИСО 10332-2002;ГОСТ 8.315-97;ГОСТ 162-90;ГОСТ 166-89;ГОСТ 380-2005;ГОСТ 1497-84;ГОСТ 5378-88;ГОСТ 6507-90;ГОСТ 6996-66;ГОСТ 7502-98;ГОСТ 7565-81;ГОСТ 8695-75;ГОСТ 9454-78;ГОСТ 10006-80;ГОСТ 11358-89;ГОСТ 12344-2003;ГОСТ 12345-2001;ГОСТ 12346-78;ГОСТ 12347-77;ГОСТ 12348-78;ГОСТ 12349-83;ГОСТ 12350-78;ГОСТ 12351-2003;ГОСТ 12352-81;ГОСТ 12354-81;ГОСТ 12355-78;ГОСТ 12356-81;ГОСТ 12357-84;ГОСТ 12358-2002;ГОСТ 12359-99;ГОСТ 12360-82;ГОСТ 12361-2002;ГОСТ 12362-79;ГОСТ 16523-97;ГОСТ 17745-90;ГОСТ 18442-80;ГОСТ 18895-97;ГОСТ 19903-74;ГОСТ 21105-87;ГОСТ 22536.0-87;ГОСТ 28033-89;ГОСТ 30432-96;ГОСТ 26877;ГОСТ ISO 10893-12;ГОСТ 1050;ГОСТ 3845;ГОСТ 10692;ГОСТ 14637;ГОСТ 19281;ГОСТ 30456
Область применения:Настоящий стандарт распространяется на стальные сварные прямошовные и спирально - шовные трубы диаметром 114 - 1420 мм, применяемые для строительства и ремонта магистральных газопроводов, нефтепроводов и нефтепродуктопроводов, транспортирующих некоррозионно - активные продукты (природный газ, нефть и нефтепродукты) при избыточном рабочем давлении до 9,8 МПа (100 кгс/см в квадрате) и температуре окружающей среды до минус 60 град. С
Список изменений:№0 от 23.08.2015 (рег. 23.08.2015) «Дата введения перенесена»
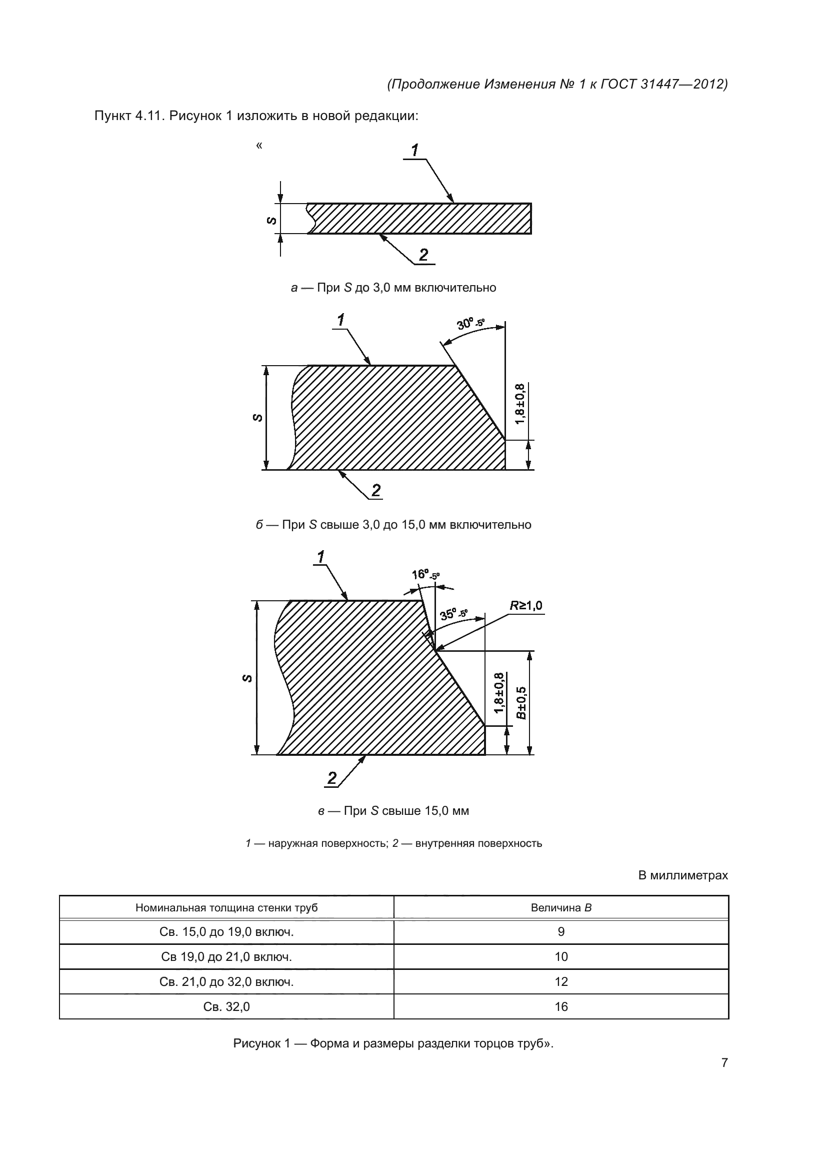
Приложение №1:Изменение №1 к ГОСТ 31447-2012
Приложение №2:Поправка к ГОСТ 31447-2012
Расположен в:Государственные стандарты Общероссийский классификатор стандартов Металлургия Продукция из чугуна и стали Стальные трубы и трубки специального назначения Классификатор государственных стандартов Металлы и металлические изделия Трубы металлические и трубные изделия Трубы стальные и соединительные части к ним Окп Трубы стальные
ГОСТ 31447-2012ГОСТ 31447-2012ГОСТ 31447-2012ГОСТ 31447-2012ГОСТ 31447-2012ГОСТ 31447-2012ГОСТ 31447-2012ГОСТ 31447-2012ГОСТ 31447-2012ГОСТ 31447-2012ГОСТ 31447-2012ГОСТ 31447-2012ГОСТ 31447-2012ГОСТ 31447-2012ГОСТ 31447-2012ГОСТ 31447-2012ГОСТ 31447-2012ГОСТ 31447-2012ГОСТ 31447-2012ГОСТ 31447-2012ГОСТ 31447-2012ГОСТ 31447-2012ГОСТ 31447-2012ГОСТ 31447-2012ГОСТ 31447-2012ГОСТ 31447-2012ГОСТ 31447-2012ГОСТ 31447-2012ГОСТ 31447-2012ГОСТ 31447-2012ГОСТ 31447-2012ГОСТ 31447-2012ГОСТ 31447-2012ГОСТ 31447-2012ГОСТ 31447-2012ГОСТ 31447-2012ГОСТ 31447-2012

Изменение №1 к ГОСТ 31447-2012

Обозначение:Изменение №1 к ГОСТ 31447-2012
Дата введения:01.06.2025


Изменение №1 к ГОСТ 31447-2012Изменение №1 к ГОСТ 31447-2012Изменение №1 к ГОСТ 31447-2012Изменение №1 к ГОСТ 31447-2012Изменение №1 к ГОСТ 31447-2012Изменение №1 к ГОСТ 31447-2012Изменение №1 к ГОСТ 31447-2012Изменение №1 к ГОСТ 31447-2012Изменение №1 к ГОСТ 31447-2012Изменение №1 к ГОСТ 31447-2012Изменение №1 к ГОСТ 31447-2012Изменение №1 к ГОСТ 31447-2012

Поправка к ГОСТ 31447-2012

Обозначение:Поправка к ГОСТ 31447-2012
Дата введения:24.08.2015


Поправка к ГОСТ 31447-2012

© 2013 Ёшкин Кот :-) Карта сайта